
飛邊1、成因:又稱溢邊、披鋒、毛刺等,大多發生在塑料模具的分合位置上,如動模和靜模的分型面,滑塊的滑配部位、鑲件的絕隙、頂桿孔隙等處,飛邊在很大程度上是由于模具或機臺鎖模力失效造成。2、解決措施:(1)機臺的最高鎖模力不夠應選用鎖模力夠的機臺。鎖模機鉸磨損或鎖模油缸密封元件磨損出現滴油
2022-02

1.塑料模具成本提高熱流道系統元件價格比較昂貴,結構相對復雜,機加工成本高,模具成本大幅提高,有時熱流道系統的成本,就會超過冷流道模具本身的成本,如果產品生產量較小,選用熱流道系統可能會得不償失,所以熱流道系統的價格昂貴,是推廣熱流道技術的主要障礙。2.模具制作工藝要求提高由于熱流道技術,涉及到多門學科
2022-02

如果注塑參數設定不當,當補縮/保壓結束后塑料會繼續收縮。緊貼塑料模具的冷凝層無法抵抗塑料收縮力便會發生塌陷,在制件表面上形成凹陷發生的原因分析:注射量不足■防止螺桿完全射空;如有需要則增大注射量,并同步增大切換位置以使制件在切換時填充至95%狀態■產品設計不當 塑料產品的壁厚均勻
2022-02

塑料產品有翹曲的簡單定義就是由收縮量差異引起的塑料產品變形。翹曲是最難解決的缺陷之一一。 首先,塑料加工廠家我們需要理解收縮量存在差異的原因。是由于存在與分子排列方式相關的定向收縮還是過度補縮或補縮不足引起不均勻的壓縮性收縮, 或者是由于零件(
2022-02

①塑料注塑加工前應干燥處理,并防止雜質混入②修改模具澆口尺寸、形狀或位置,使之合理③擦干水分或油污,表面進行拋光④提高塑料熔膠筒溫度或模溫溫度⑤降低料溫溫度,防止塑料降解或分解⑥合理調校射膠壓力、速度參數,檢查排氣道排氣狀況⑦適量使用潤滑劑⑧合理調整工藝技術參數,防止結晶性料冷卻不良或不均勻⑨調節射
2022-02

①選用較大的注塑機或選用合適面積的塑料制品模具②檢查模具安裝情況并固定壓緊③檢查模板及拉桿是否平行,并進行校正消除變形④清潔或打磨模邊,檢查模具平行度⑤檢查塑料模具分型面是否干凈無雜物,校正偏移或間隙,或更換零件⑥加料量控制合適⑦控制加熱熔膠筒的溫度和模具溫度⑧降低射膠壓力、速度參數值的設定⑨調校鎖
2022-02

現象:塑料制品廠注塑加工透明鏡片在生產過程中表面有流痕現象;不良原因分析:塑料模具主流道很大,入膠口方式為潛水進膠,熔料流至進膠口附近,由于速度過快及模具表面很光潔,造成高剪切使容料瞬間迅速升溫,使原料分解產生氣體,形成流痕。對策:①運用多級注射及位置切換。②第一段用相對快的速度剛剛充滿流道至進膠口
2022-02

可能的原因:①塑料潮濕,含水分、溶劑或易揮發物②料粒太細、不均或背壓小,料簡后端溫度程中高或加料端混入空氣或回流翻料③模腔填料不足或澆口、流道太小④注射壓力和速度設置太低⑤射膠時間設置太低⑥模溫低或溫度不均勻,射嘴溫度太高解決方法:①注塑前先干燥處理膠料,也要避免處理過程中受過大的溫度變化②對細料粒
2022-02

模板不平衡會造成動模和靜模板之間的縫隙,使注塑成型的塑料產品產生披鋒缺陷。其原因是:射膠部分的螺桿和熔膠筒有配合間隙。在正常情況下,塑料原料在加熱圈的加熱條件下,塑化成熔融膠料,在射膠時,通過射嘴將熔融膠料推射入模具型腔。如果螺桿和熔膠筒之間間隙過大、嚴重磨損,就不能達到完全塑化,使產品
2022-02

①塑料制品塑料有污染、干燥不良或有揮發物②塑料及回料混合比例大,使塑料收縮方向性過大或填料分布不均③不適當的脫模設計,制品壁薄,脫模斜度小,有尖角及缺口,容易應力集中④頂針或環定位不當,或成型條件不當,應力過大,頂出不良⑤工模溫度太低或溫度不均⑥注塑加工廠家的模具注射壓力太低,注射速度太慢⑦射膠時間
2022-01

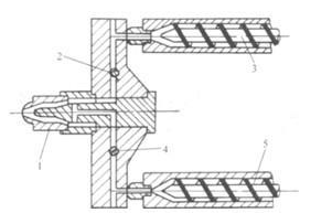
所謂雙色注塑成型,是指將兩種不同色澤的塑料注入同一模具的成型方法。它能使塑料制品出現兩種不同的顏色,并能使塑件呈現有規則的圖案或無規則的云紋狀花色,以提高塑件的實用性和美觀性。 (1)雙混色注塑成型 圖所示為雙混色注塑成型原理。它有兩個料筒,每個料筒的結構和使用均與普通注
2022-01

塑料模具的結構雖然由于塑料品種和性能、注塑加工廠家塑料制品的形狀和結構以及注射機的類型等不同而可能千變萬化,但是基本結構是一致的。模具主要由澆注系統、調溫系統、成型零件和結構零件組成。其中澆注系統和成型零件是與塑料直接接觸部分,并隨塑料和制品而變化,是塑模中最復雜,變化最大,要求加工光
2022-01

塑料件的壁厚對塑料制品質量有很大影響。壁厚過小成形時流動阻力大,大型復雜塑料件就難以充滿型腔。塑料件壁厚的最小尺寸應滿足以下方面要求:具有足夠的強度和剛度;脫模時能經受推出機構的推出力而不變形;能承受裝配時的緊固力。塑件最小壁厚值隨塑料品種和塑件大小不同而異。 壁厚過
2022-01

塑料產品的缺陷基本分為以下三種。一,致命缺陷:與安全有關的缺陷,如突出的銳角、漏電、有毒等危害人體健康和安全的缺陷。所以,對于塑料制品來說,前期的結構設計盡量不要存在銳角,注塑加工廠在選擇材料時選擇要考慮環保,安全性能測試是至關重要的一步。二,嚴重缺陷:與產品安全無關與產品功能有關的缺陷,如產品較脆、
2021-12

塑料成型模具用來生產大批量注塑件具有效率高、質量好、切削少、節約能源和原材料、成本低等優勢,但是因為塑料成型模具加工過程復雜,會遇到很多問題,本章內容將介紹塑料成型模具加工中容易遇到的問題。1.巨大的尺寸和重量如何應對自身的巨大尺寸和重量,是塑料成型模具加工廠在加工體積很大的塑料成型模具時所面臨的一大
2021-12

注塑加工廠在遇到注塑中出現注塑制品變形、彎曲、扭曲現象的發生主要是由于塑料成型時流動方向的收縮率比垂直方向的大,使制件各向收縮率不同而翹曲,又由于注射充模時不可避免地在制件內部殘留有較大的內應力而引起翹曲,這些都是高應力取向造成的變形的表現。所以從根本上說,模具設計決定了制
2021-12

熱流道技術是應用于注塑加工廠工業的一項先進技術,采用加熱的方法使處于注射機噴嘴到塑料模具型腔澆口間整個流道中的塑料一直處于熔融狀態,從而在完成注射后只需取出塑料產品而不產生澆道凝料的先進澆注系統。塑料熔體需流經主噴嘴、熱流道板、分噴嘴,最終才能到達模具型腔。所以在使用過程
2021-12

注塑塑料制品有色差是注塑中常見的缺陷,色差影響因素眾多,涉及原料樹脂、色母、色母同原料的混合、注塑工藝、注塑機等,塑料加工在實際的生產過程中一般從以下五個方面來進行色差的控制。1.消除注塑機及模具因素的影響要選擇與注塑主品容量相當的注塑機,如果注塑機存在物料死角等問題
2021-12

注塑產品的缺陷分析:一、料頭附近有暗區1、表觀在料頭周國有可州別的環形一如使用中心式澆口則為中心圓,如使用側澆口則為同心圓,這是因為環形尺寸小,看上去像蹈暈,這主要是加工高粘性(低流動性)材料時會發生這種現象,如PC、 PMA和ABS等、物理原因:塑料制品廠如果注射速度太高,熔料流動速度過快且粘性高,料頭附近表
2021-11

1、塑料制品熱塑性塑料成型過程中由于還存在結晶化形起的體積變化,內應力強,凍結在塑件內的殘余應力大,分子取向性強等因素,因此與熱固性塑料相比則收縮率較大,收縮率范圍寬、方向性明顯,另外成型后的收縮、退火或調濕處理后的收縮率一般也都比熱固性塑料大。2、塑件特性成型時熔融料與型腔表面接觸外層立即冷卻形成低
2021-11